金莎9001zz以诚为本

行业动态

了解最新公司动态及行业资讯

土壤修复过滤设备原理和结构特点

2017-10-10 02:26:13 335 编辑:admin 来源:本站
  根据2014年发布的《全国土壤污染状况调查公报》,中国土壤环境状况总体不容乐观,全国土壤污染超标率达16 .1%,在工矿业废弃地土壤环境问题突出的同时,耕地土壤环境质量更加堪忧。面对土壤污染的严峻局面,国家立法速度明显加快。
  对土壤进行修复是还田的首要任务,现有土壤修复技术种类繁多,大方向有原位修复和异位修复之分,异位修复需消耗大量劳动力,修复设备复杂,操作繁琐。现有的大部份的原位修复土壤修复技术中利用水清洗土壤会污染地下水源。
  本发明的目的在于克服现有技术的不足之处,提供一种利用气提管提升泥水混合物,无需机械动力,自动化程度高,管理使用方便,结构简单,成本低,不会污染地下水,修复效果更好,实用型更高的土壤修复设备
  1、土壤修复过滤设备结构
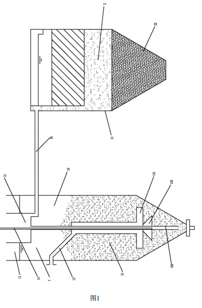
  一种土壤修复设备,其特征在于其包括过滤器及与其连通的沉淀器,所述的过滤器包括过滤罐体,所述的过滤罐体上部设有土壤进口,所述的过滤罐体内底部设有砂床,所述的过滤罐体设有通入到过滤罐体内砂床的进水管道,所述的过滤罐体内还设有中心管,所述的中心管内设有气提管,所述的气提管的下部伸入到砂床内,所述的过滤罐体内上部设有土壤清洗装置,所述的中心管的上部与土壤清洗装置相通,所述的土壤清洗装置连有与沉淀器连通的出水管道,所述的沉淀器包括沉淀罐体,沉淀罐体内底部设有沉淀部。
  如上所述一种土壤修复设备,其特征在于所述的进水管道下部设有布水器,布水器为横板结构。如上所述一种土壤修复设备,其特征在于所述的布水器下面设有反射底锥,反射底锥为三角形状。
  如上所述一种土壤修复设备,其特征在于所述的沉淀部为锥形体结构。
  如上所述一种土壤修复设备,其特征在于所述的过滤罐体下部为锥形体结构。
  2、土壤修复过滤设备优点
  本发明的过滤器利用气提管提升泥水混合物,无需机械动力,节省了大量的人力物力,可实现污水的过滤以及砂子的自动清洗调配,自动化程度高,再经过沉淀器实现泥水分离,底部出干净的土壤,上清液为清洗土壤废气,管理使用方便,结构简单,成本低,不会污染地下水,修复效果更好,实用型更高的土壤修复设备。
  3.土壤修复过滤设备结构图
  图1是本发明的结构示意图。
土壤修复过滤设备
  4、土壤修复过滤设备安装方式
  一种土壤修复设备,其包括过滤器1及与其连通的沉淀器2,所述的过滤器1包括过滤罐体10,所述的过滤罐体10上部设有土壤进口11,所述的过滤罐体10内底部设有砂床12,所述的过滤罐体10设有通入到过滤罐体10内砂床的进水管道13,所述的过滤罐体10内还设有中心管100,所述的中心管100内设有气提管14,所述的气提管14的下部伸入到砂床12内,所述的过滤罐体10内上部设有土壤清洗装置15,所述的中心管100的上部与土壤清洗装置15相通,所述的土壤清洗装置15连接有与沉淀器2连通的出水管道16,所述的沉淀器2包括沉淀罐体21,沉淀罐体21内底部设有沉淀部22。土壤通过土壤进口11进入过滤罐体10内上部的土壤清洗装置15,水从进水管道13经布水器131进入过滤罐体10内,土壤中的污染物与水在过滤罐体10内混合反应、溶解,在过滤罐体10底部通过气提管14的气提方式,被提升到装置上部的土壤清洗装置15中,泥水顺势沿出水管道16进入到沉淀器2,在沉淀器2内实现泥水分离,底部出干净的土壤,上清液为清洗土壤废气。
  本发明的进水管道13下部设有布水器131,布水器131为横板结构。
  本发明的布水器131下面设有反射底锥132,反射底锥132为三角形状,其中一个角朝上,另外二个角平行。
  本发明的沉淀罐体21的沉淀部22为锥形体结构,过滤罐体10下部也为锥形体结构。
  5、土壤修复过滤设备工作原理是:
  土壤通过土壤进口11进入过滤罐体10内 上部的土壤清洗装置15,水从进水管道13经布水器131进入过滤罐体10内,土壤中的污染物与水在过滤罐体10内混合反应、溶解,在过滤罐体10底部通过气提管14的气提方式,被提升到装置上部的土壤清洗装置15中,泥水顺势沿出水管道16进入到沉淀器2,在沉淀器2内实现泥水分离,底部出干净的土壤,上清液为清洗土壤废气。本发明更适应于异位土壤修复中土壤主要污染物能于水反应、溶解的,而且土壤污染面积小,深度浅的土壤层。

30

装备制造经验

立即免费获取土壤修复方案

为用户提供及时、高效、便捷的服务

在线咨询
金莎9001zz以诚为本环境希望与你携手,共创美好未来...
5