金莎9001zz以诚为本

行业动态

了解最新公司动态及行业资讯

淋洗土壤修复设备_淋洗土壤修复设备公司

2017-10-10 02:24:23 527 编辑:admin 来源:本站
  目前针对重金属污染土壤的修复技术主要包括安全填埋法、固化 / 稳定化、和植物修复技术等,其中安全填埋技术不适用于自然保护区、水源保护区等对环境保护有严格限制的区域,同时要求填埋场地周边无环境敏感目标且填埋场的容量足够消纳污染土壤。稳定化 / 固化技术只适用于污染相对较轻的土壤,该方法是将污染物稳定固定减少风险,而非去除 ;植物修复技术一般只能对某种特定的重金属具有超累积能力,对污染物较多的土壤则较为困难,另外因为植物吸收污染物的速度很慢,导致修复时间很长,因此这种技术适用于对土地修复时间没有严格限制的工程。 为解决现有技术中的不足,本发明的目的在于提供一种淋洗土壤修复设备
  1、淋洗土壤修复设备的技术方案为 :
  一种淋洗法土壤修复成套设备,包括依次逐级串接的螺旋输送机、初筛分离机、细筛分离机、加酸搅拌池、离心分离机、污水池、加碱搅拌池、沉淀池和压滤机。
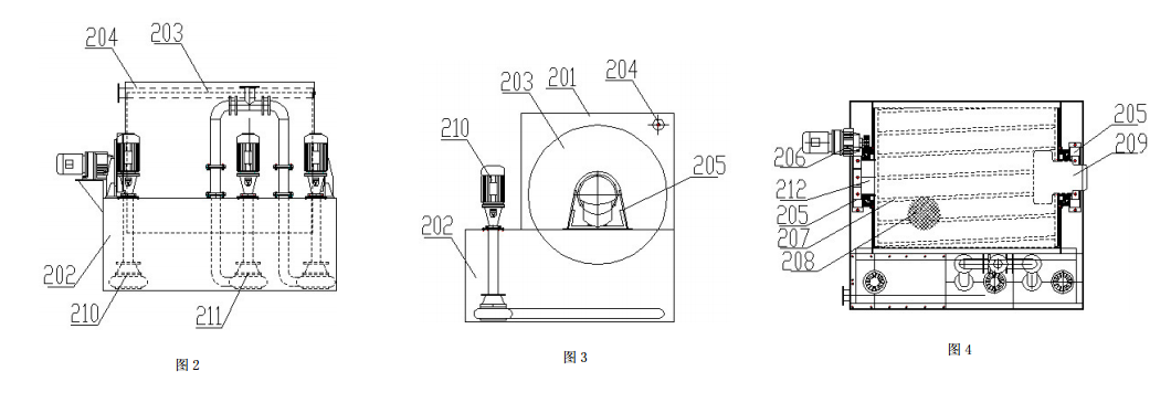
  进一步地,所述初筛分离机包括箱体和筛笼,所述箱体下部为储液箱,所述储液箱内设有泥浆循环搅拌管和一台以上的泥浆泵,泥浆泵的输出端连接细筛分离机的进料口 ;所述圆柱状筛笼的转轴两端经左右两侧的旋转支架连接于箱体上部呈转动状态,转轴一端连接减速机,所述筛笼的左侧设有与螺旋输送机输出端连接的进料口,筛笼右侧设有出渣斗,筛笼外侧的上方设置有喷淋管,所述喷淋管经清水泵连接清水囊,筛笼外壁上设有一层筛网,筛笼内壁上设有多组平行叶片,所述叶片倾斜或螺线状设置于筛笼内壁,叶片的两端与筛笼的两个端面连接。
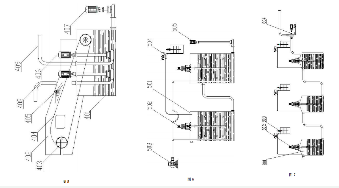
  进一步地,所述细筛分离机包括进料口、储液箱、传送带、泥浆泵、出料管和传送支架,所述储液箱内设有一台以上的泥浆泵,泥浆泵的输出端连接加酸搅拌池的进口,传送支架连接于储液箱上方,所述传送带支承于传送支架上,传送带的带面为网状,所述传送带与储液箱在垂直方向投影部分或全部重合,传送带的上方设有进料口,所述进料口位于储液箱正上方,喷淋管设置于储液箱的正上方,喷淋管设置于进料口朝向传送带传送方向的一侧,所述喷淋管经清水泵连接清水囊。
  进一步地,所述加酸搅拌池包括两级串联的酸桶、罗茨风机、搅拌机、加酸计量泵和泥浆泵,所述两级酸桶上均设有搅拌机,所述搅拌机上设有 PH 计,所述罗茨风机出风口经管道伸入两级酸桶的底部,所述加酸计量泵的出口管与第一级酸桶连接并与 PH 计联动,第一级酸桶上设有与细筛分离机连接的进口,第二级酸桶底部连接有泥浆泵,所述泥浆泵的输出端与离心分离机的输入端连接。
  进一步地,所述离心分离机的液相出口经管道连接污水池,所述离心机的固相出口连接螺旋输送机的输入端,所述污水池经污水泥浆泵连接加碱搅拌池。
  进一步地,所述加碱搅拌池包括三级串联的碱桶,所述各级碱桶分别设置有搅拌机和加碱计量泵,所述碱溶液搅拌器上设有 PH 计,所述加碱计量泵与 PH 计联动,所述最后一级碱桶经泥浆泵连接沉淀池。
  进一步地,所述沉淀池包括多级串接的沉淀池。
  再进一步地,压滤机的水相出口连接有清水桶,所述清水桶经清水回收泵连接清水囊,压滤机的固态出口连接螺旋输送机的输入端。
  2、淋洗土壤修复设备优点:
  本发明采取初筛淋洗,细筛淋洗将土壤中的重金属离子和其他污染物与从土壤中分离至水中,经过两级酸池氧化将金属离子与酸中的阴离子结合后熔与水中,再经过离心分离机将含有污染物的水和去除污染物的泥进行分离 ;含污染物的水经过碱池的还原后与氢氧根反应以沉淀形式从污水中分离,沉淀物经絮凝后进入到四级沉淀池沉淀后固液分离,分离出的水可以回收用于初筛淋洗,细筛淋洗,含污染物的固体排出后送入压滤机压滤回收,压滤过程中产生的含少量污染物的水送回至污水池重新处理分离。该工艺设计合理,处理效果,处理成本低,且使用范围广。
  3、淋洗土壤修复设备结构图
淋洗土壤修复设备结构图初筛分离机的主视图加酸搅拌池的结构示意图
  图 1 本发明的连接示意图 ;
  图 2 为初筛分离机的主视图 ;
  图 3 为初筛分离机的左视图 ;
  图 4 为初筛分离机的俯视图 ;
  图 5 为细筛分离机的结构示意图 ;
  图 6 为加酸搅拌池的结构示意图 ;
  图 7 为加碱搅拌池的结构示意图。
  图中 :螺旋输送机 1,初筛分离机 2,箱体 201,储液箱 202,筛笼 203,喷淋管 204,旋转支架 205,减速机 206,叶片 207,筛网 208,出渣斗 209,泥浆循环搅拌管 210,泥浆泵 211,进料口 212,清水囊 3,细筛分离机 4,储液箱 401,传送支架 402,传送带 403,带面 404,喷淋管 405,泥浆泵 406,泥浆循环搅拌泵 407,进料口 408,出料管 409,加酸搅拌池 5,酸桶 501,搅拌机 502,罗茨风机 503,加酸计量泵 504,泥浆泵 505,污水池 6,离心分离机 7,加碱搅拌池 8,碱桶 801,搅拌机 802,加碱计量泵 803,泥浆泵 804,沉淀池 9,清水桶 10,压滤机 11,清水泵 12。

30

装备制造经验

立即免费获取土壤修复方案

为用户提供及时、高效、便捷的服务

在线咨询
金莎9001zz以诚为本环境希望与你携手,共创美好未来...
5